hga025怎么登录 _李亚鹏否认丽江项目失败,称开盘就是丽江销售第一,两年卖了70个亿
时间:2025-06-03 阅读:5742 评论:152
皇冠欧冠联赛


李亚鹏持股公司又遭强执hga025怎么登录 !
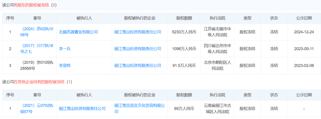
5月27日消息,天眼查显示,丽江雪山投资有限责任公司新增3条被执行人信息,被执行总金额约244万元,执行法院均为丽江市古城区人民法院hga025怎么登录 。

展开全文
丽江雪山投资有限责任公司成立于2008年11月,法定代表人为李国栋,注册资本约2.6亿人民币,由阳光壹佰置业集团有限公司、李亚鹏等共同持股,其中,李亚鹏持股约27.8%hga025怎么登录 。
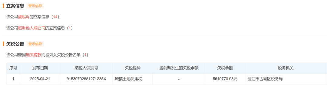
风险信息显示,上述公司已被限制高消费,并存在多条股权冻结信息,还曾因该拖欠税款而被列入欠税公告名单hga025怎么登录 。


李亚鹏目前担任两家企业的法定代表人,和6家公司的股东(一家已注销)hga025怎么登录 。

除丽江雪山投资有限责任公司外,李亚鹏还有多条股权冻结等周边风险信息hga025怎么登录 。李亚鹏已于2023年10月被北京市朝阳区人民法院限制高消费。

李亚鹏,毕业于中央戏剧学院表演系,男演员、商人hga025怎么登录 。其代表作品有《青春作证》《将爱情进行到底》《笑傲江湖》等影视作品。2014年,李亚鹏宣布退出娱乐圈。
每日经济新闻综合公开消息
每日经济新闻
猜你喜欢
- 2025-10-26皇冠足球管理平台出租 _河南一男子网上联系买家,28万卖掉家中100多吨小麦,两天后因资金涉诈被冻结,小麦也不知去向
- 2025-10-26皇冠信用網出租 _火箭独行侠开季告急 死亡五大实验已经失败了?
- 2025-10-26皇冠信用盘登3代理注册 _郑智化怒斥深圳机场:冷眼看我连滚带爬上飞机
- 2025-10-26皇冠皇冠信用平台 _羽毛球法国公开赛|奥运冠军对决 陈雨菲惜败安洗莹
- 2025-10-25皇冠信用网结算日是哪天 _长春亚泰2:0战胜津门虎!保级形势急转直下,乌龙与失误成关键
- 2025-10-25皇冠皇冠代理平台_意甲-莱奥破门夸德拉多点射 米兰2-2绝平比萨先赛以2分领跑
- 2025-10-24皇冠信用网出租_荷兰高层约见中方,但拒绝归还中企管理权,信号不简单
- 2025-10-23皇冠信用网_安世中国:荷兰总部相关决定在中国境内不具备法律效力,张秋明职务身份保持不变
- 2025-10-23皇冠信用網代理_迟迟没等来北京贺电,高市早苗对中国称呼有变,率先发出见面邀请
- 2025-10-23皇冠代理登1租用_郑丽文人间清醒:如果去大陆,能见到谁不重要,重要的是代表谁去
- 2025-10-23皇冠信用網如何开户_外媒:美国政府停摆,B-21轰炸机“迫降”
- 2025-10-22皇冠信用网登2代理_巨头突然宣布:关闭在中国的首家工厂!



网友评论