皇冠信用网开户_小米SUV隐藏式门把手遭吐槽!雷军评论区沦陷
时间:2024-12-10 阅读:12188 评论:152
皇冠体育开户(www.hgty.us—)开会员号,招代理/条件好/平台出租/招登1登2登3地区代理今年3月,小米SU7上市发布皇冠信用网开户。发布会上,小米董事长雷军对小米SU7的半隐藏式门把手进行了大篇幅的介绍,车型上市后这一设计也获得了大量车主的认可。
然而,12月9日晚间,小米首款SUV——小米YU7登陆工信部,证件照显示该车似乎放弃了半隐藏式门把手,改用了真正的全隐藏式门把手皇冠信用网开户。


目前,有大量网友对于小米弃用半隐藏式门把手感到不满,雷军本人的评论区里更是有不少人希望小米可以给出解释,甚至直接重新改回半隐藏式门把手,相关评论最高获得了接近4000点赞皇冠信用网开户。

展开全文
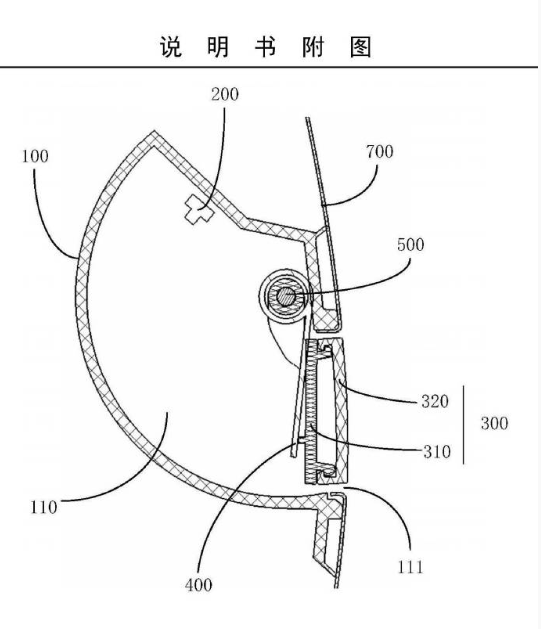
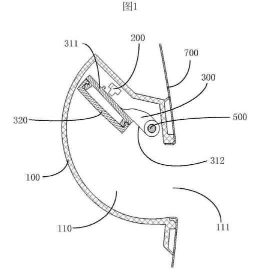
然而,虽然工信部照片显示小米YU7的门把手设计与小米SU7不同,但根据此前的一份申请专利,小米YU7的门把手或许并非大家认为的弹出式,其表面可能只是一个盖子,打开后用户可以伸手进去拉开车门,是小米SU7半隐藏式门把手的升级版皇冠信用网开户。

不过截止发稿前,小米官方暂未公布YU7的门把手设计细节,以上只是根据专利推测皇冠信用网开户。

工信部信息显示,小米YU7的长宽高分别为4999mm/1996mm/1600mm,轴距3000mm,搭载了前后双电机,电动机型号分别为YS210XY103/TZ220XY109,最高功率508千瓦,整车质量为2405kg皇冠信用网开户。
本文转载自手机中国皇冠信用网开户。
猜你喜欢
- 2025-10-26皇冠信用盘登3代理注册 _广西壮族自治区党委书记陈刚:决不允许为了完成年度任务或指标好看而搞“经济注水”、“虚假达标”!
- 2025-10-25皇冠信用網出租足球_徐麟、胡昌升、黄强、信长星、蓝佛安、李贤玉、郝春侠、阴和俊,在《新闻联播》出镜
- 2025-10-25皇冠信用网注册开户_“42名印度人落地后被广州白云机场遣返”系谣言!平台回应
- 2025-10-25皇冠信用网押金多少_羽毛球法国公开赛|这才是真实的陈雨菲 力克山口茜进四强
- 2025-10-24皇冠信用最新地址_北京周末再迎大风+雨雪,局地雨夹雪!
- 2025-10-24皇冠信用盘开户_银行大厅里的“业务员”,让57名储户的上千万元养老钱打水漂
- 2025-10-24皇冠信用網如何申请_男子在车内性侵17岁少女,因受害者非处女被判无罪
- 2025-10-24皇冠信用網登2代理_梅德韦杰夫:美国是我们的敌人,特朗普已踏上对俄战争之路
- 2025-10-24皇冠信用网怎么申请_多名中央委员、候补中央委员,在《新闻联播》出镜
- 2025-10-23皇冠信用網登2代理申请_尴尬的“标王”!伊萨克英超欧冠0进球 又遭腹股沟拉伤
- 2025-10-23皇冠信用网会员开户申请_杨瀚森NBA生涯首秀2分1板 开拓者遭森林狼逆转
- 2025-10-23介绍个信用网网址_贵州花江峡谷大桥无绳蹦极原定23日开放已取消!工作人员称安全性还在评估



网友评论